Skip to content

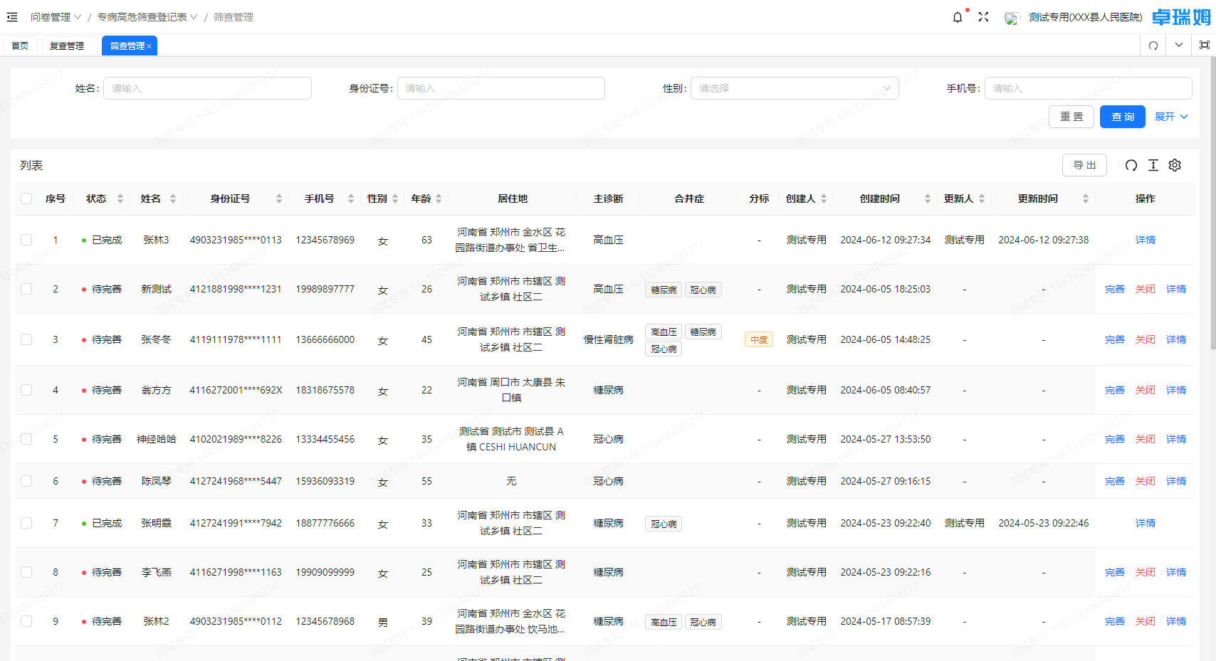
筛查管理

列表展示数据为全部状态的筛查数据
数据展示该管理机构及下级机构的数据

图片

完善

对患者的病种、诊断评估与危险因素进行完善

图片

关闭

关闭当前患者的筛查

图片

详情

可查看完善的数据、干预的详情以及患者的检查数据

图片

批量操作

对待完善数据进行批量关闭操作

图片